By【映璇汽车工作室】@工科女的车库

10月14日,比亚迪的新型混合动力系统技术专利在国家专利局正式公告,有很多网友@工科女,咨询会不会背刺正在热销中的DMi或者DMp。
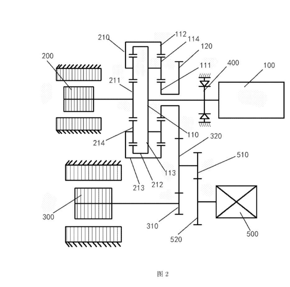
经过工科女对该专利结构的粗略分析,初步判断:这个疑似比亚迪DM5.0的混动系统不会对现款的DMi和DMp形成实质的冲击,可以初步判断,它们的定位不太一样。
这套全新混动系统有以下几个特点:
1.该结构采用两个行星排,整体能够承担的载荷上限和承担的扭矩上限均比目前的DMi和DMp有所提高,因此,该套混合动力系统能够适配更大输出动力的发动机,比如2.0T及以上的。而目前的DMi和DMp发动机都只有1.5T。所以新型混动系统的驱动力范围更大,对行驶环境的适应性更高。估计,该套系统应该首搭在比亚迪不久将发布的硬派越野车型上面,据工科女之前的了解,硬派越野的动力单元正是:2.0T+DM 5.0系统。不过,硬派越野上要搭轮边电机,这个全新混动系统的结构却是发动机+双电机。好像又有矛盾。也请大家来讨论一下:它会首搭哪款车?

2.该套混动结构虽然和通用、丰田的功率分流结构有部分相似之处,但是,它最大的进步是:全套结构没有一个离合器,就实现了混动模式和纯电动模式的切换,在保证驱动力范围和驱动力可变化区间的同时,还能够省掉很多硬件,极大地降低生产成本,并简化了结构,缩小了安装空间。

之前,吉利雷神和奇瑞鲲鹏混动,也有借鉴通用、丰田的功率分流结构,但是,发动机和电机都是采用N多个离合器来实现动力的传输与断开,造成模式之间切换速率低,且生产成本高。

从这里再次验证了,比亚迪一贯坚守的:用最简单的技术路线解决复杂的工程学难题。在更大排量的混动结构上,也是如此。
3.该套系统实现了对发动机的更灵活地调速以及更宽泛的调速范围,优化了发动机的工作区间,对中低速时的重载爬坡、高速再加速、深度越野脱困也具有良好的动力性能。对发动机高速表现优化更好,高速油耗会更经济。

4.该结构采用行星排部件间的硬性连接,同轴异轴、单向锁止机构等差异化的不同设计, 让整个行星排体积更加紧凑,整体的动力损耗更低。行星排还采用了一体式构件,整体的结构强度和生产效率都更高。

5.相比DMi DMp 模式更多:起步模式、驻车发电、纯电(单双电机多种模式)、混动(单双电机+发动机多种模式)、再生制动、机械制动、联合制动等。

6.这套系统确实是功率分流,但这个系统复杂度比THS高,比DMi也高,与THS比没有看出有明显优势,还有一种可能:估计比亚迪未必会实施这个方案。
后面我们将对该结构做更详细的解析。请点赞关注。
微信扫二维码在线咨询